本实用新型涉及物体表面处理技术领域,尤其涉及一种环保高效喷塑流水线。

背景技术:
喷塑是将塑料粉末喷涂在零件上的一种表面处理方法。喷塑也就是我们常讲的静电粉末喷涂涂装,其处理工艺是20世纪80年代以来国际上采用较为普遍的一种金属表面处理的装饰技术。该技术与普通喷漆表面处理相比,优点体现在工艺先进、节能高效、安全可靠、色泽艳丽等方面。因此,常常被应用于轻工、家用装修领域。其工作原理在于将塑料粉末通过高压静电设备充电,在电场的作用下,将涂料喷涂到工件的表面,粉末会被均匀地吸附在工件表面,形成粉状的涂层;而粉状涂层经过高温烘烤后流平固化,塑料颗粒会融化成一层致密的效果各异的最终保护涂层;牢牢附着在工件表面。
在喷料嘴喷料的时候,会有部分粉状的物料漂浮在机壳内部,粉尘的堆积,降低工作环境的洁净度,不利于环保;喷料嘴在下料的时候,会出现断料的现象,降低生产效率;机壳内部通过电加热丝加热的时候,不能及时的知晓机壳内部的加热温度。为此,我们提出一种环保高效喷塑流水线。
技术实现要素:
本实用新型提供一种环保高效喷塑流水线,旨在对机壳内部的粉尘集中收集,提高工作环境的洁净度;通过料箱表面的警示线观测料箱的物料残留量,技术人员通过吸粉泵及时添加,确保物料源源不断,提高生产效率;在机壳侧壁插接有温度传感器,及时知晓并调节机壳内部的温度,有利于提高产品的质量。
本实用新型提供的具体技术方案如下:
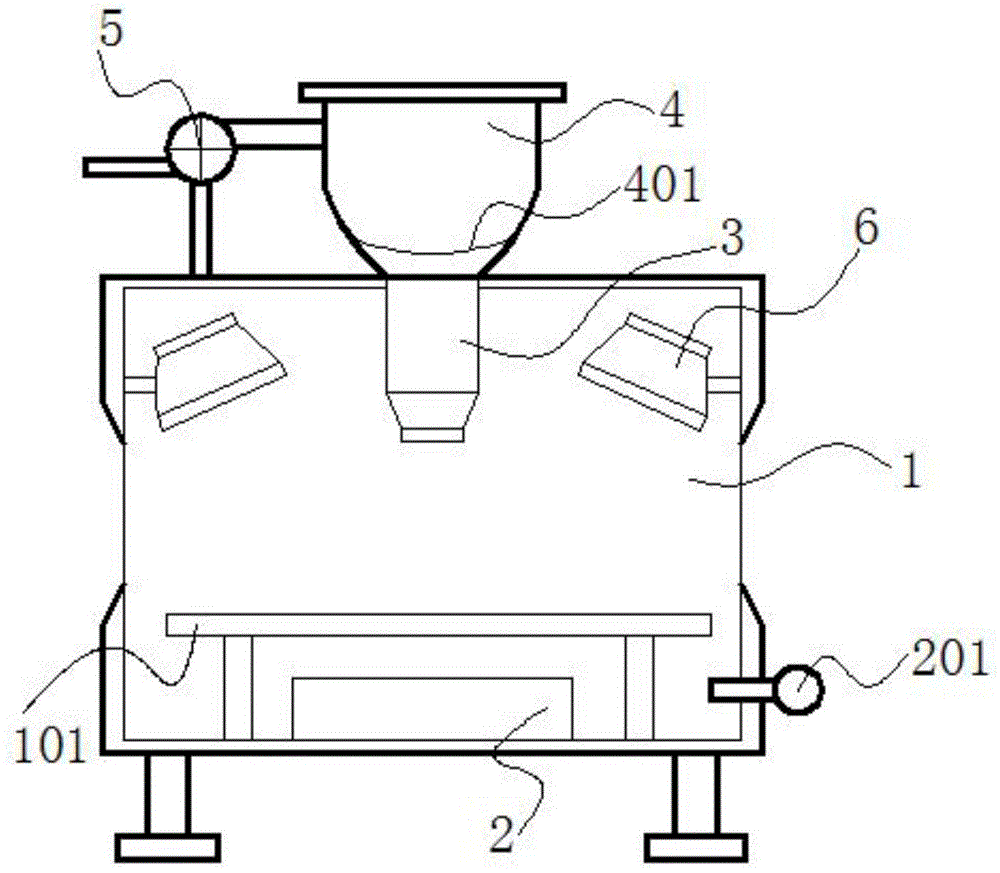
本实用新型提供的一种环保高效喷塑流水线包括机壳、工作台和喷料嘴,所述工作台安装在机壳内部底端,所述喷料嘴位于机壳内部顶端,所述喷料嘴导通连接在料箱底端,所述料箱表面喷涂有警示线,所述料箱靠近顶端一侧通过导管与吸粉泵导通连接,所述机壳内部顶端对称安装有吸尘嘴,所述机壳外部安装有吸尘箱,所述吸尘箱内部安装有引风机,所述引风机的排气端插接在集尘布袋内部,所述机壳内部底端安装有电加热箱,所述机壳侧壁插接有温度传感器。
可选的,所述料箱贯穿机壳上表面,所述料箱的警示线位于机壳外部。
可选的,所述吸尘嘴位于喷料嘴两侧,且吸尘嘴通过吸尘管与引风机的吸气端导通连接。
可选的,所述机壳表面安装有控制面板,所述控制面板的控制端分别与吸粉泵、引风机、电加热箱和温度传感器的执行端电性连接。
可选的,所述吸尘箱位于机壳一侧。
本实用新型的有益效果如下:
1、本实用新型对机壳内部的粉尘集中收集,提高工作环境的洁净度;通过料箱表面的警示线观测料箱的物料残留量,技术人员通过吸粉泵及时添加,确保物料源源不断,提高生产效率;在机壳侧壁插接有温度传感器,及时知晓并调节机壳内部的温度,有利于提高产品的质量。
2、本实用新型喷料嘴位于机壳内部顶端,喷料嘴导通连接在料箱底端,料箱表面喷涂有警示线,料箱靠近顶端一侧通过导管与吸粉泵导通连接,现场的技术人员,通过警示线即可观测料箱的物料残留量,通过吸粉泵及时添加,确保物料源源不断,提高生产效率。
3、本实用新型机壳内部顶端对称安装有吸尘嘴,机壳外部安装有吸尘箱,吸尘箱内部安装有引风机,引风机的排气端插接在集尘布袋内部,引风机通过吸尘嘴和吸尘管,把机壳内部的粉尘集中收集,提高工作环境的洁净度,更加环保。
4、本实用新型机壳内部底端安装有电加热箱,机壳侧壁插接有温度传感器,及时知晓并调节机壳内部的温度,有利于提高产品的质量。
附图说明
为了更清楚地说明本实用新型实施例中的技术方案,下面将对实施例描述中所需要使用的附图作简单地介绍,显而易见地,下面描述中的附图仅仅是本实用新型的一些实施例,对于本领域普通技术人员来讲,在不付出创造性劳动的前提下,还可以根据这些附图获得其他的附图。
图1为本实用新型实施例的一种环保高效喷塑流水线的整体结构示意图;
图2为本实用新型实施例的一种环保高效喷塑流水线的机壳俯视结构示意图;
图3为本实用新型实施例的一种环保高效喷塑流水线的吸尘箱结构示意图;
图4为本实用新型实施例的一种环保高效喷塑流水线的电器元件连接结构示意图。
图中:1、机壳;101、工作台;2、电加热箱;201、温度传感器;3、喷料嘴;4、料箱;401、警示线;5、吸粉泵;6、吸尘嘴;7、吸尘管;8、吸尘箱;9、控制面板;10、引风机;11、集尘布袋。
具体实施方式
为了使本实用新型的目的、技术方案和优点更加清楚,下面将结合附图对本实用新型作进一步地详细描述,显然,所描述的实施例仅仅是本实用新型一部分实施例,而不是全部的实施例。基于本实用新型中的实施例,本领域普通技术人员在没有做出创造性劳动前提下所获得的所有其它实施例,都属于本实用新型保护的范围。
下面将结合图1~图4对本实用新型实施例的一种环保高效喷塑流水线进行详细的说明。
参考图1、图2、图3和图4所示,本实用新型实施例提供的一种环保高效喷塑流水线包括机壳1、工作台101和喷料嘴3,所述工作台101安装在机壳1内部底端,所述喷料嘴3位于机壳1内部顶端,所述喷料嘴3导通连接在料箱4底端,所述料箱4表面喷涂有警示线401,所述料箱4靠近顶端一侧通过导管与吸粉泵5导通连接,所述机壳1内部顶端对称安装有吸尘嘴6,所述机壳1外部安装有吸尘箱8,所述吸尘箱8内部安装有引风机10,所述引风机10的排气端插接在集尘布袋11内部,所述机壳1内部底端安装有电加热箱2,所述机壳1侧壁插接有温度传感器201,对机壳内部的粉尘集中收集,提高工作环境的洁净度;通过料箱表面的警示线观测料箱的物料残留量,技术人员通过吸粉泵及时添加,确保物料源源不断,提高生产效率;在机壳侧壁插接有温度传感器,及时知晓并调节机壳内部的温度,有利于提高产品的质量。
参照图1所示,所述料箱4贯穿机壳1上表面,所述料箱4的警示线401位于机壳1外部,便于现场的技术人员及时观测料箱内部的物料残留量,及时的通过吸粉泵添加物料,物料源源不断,有效的提高生产的效率。
参照图1、图2和图3所示,所述吸尘嘴6位于喷料嘴3两侧,且吸尘嘴6通过吸尘管7与引风机10的吸气端导通连接。
参照图4所示,所述机壳1表面安装有控制面板9,所述控制面板9的控制端分别与吸粉泵5、引风机10、电加热箱2和温度传感器201的执行端电性连接,便于通过控制面板对电器元件进行工作状态的操控。
参照图2所示,所述吸尘箱8位于机壳1一侧,便于通过吸尘箱对机壳内部的粉尘集中收集,保持工作环境的洁净,更加环保。
本实用新型实施例提供一种环保高效喷塑流水线,喷料嘴位于机壳内部顶端,喷料嘴导通连接在料箱底端,料箱表面喷涂有警示线,料箱靠近顶端一侧通过导管与吸粉泵导通连接,现场的技术人员,通过警示线即可观测料箱的物料残留量,通过吸粉泵及时添加,确保物料源源不断,提高生产效率;机壳内部顶端对称安装有吸尘嘴,机壳外部安装有吸尘箱,吸尘箱内部安装有引风机,引风机的排气端插接在集尘布袋内部,引风机通过吸尘嘴和吸尘管,把机壳内部的粉尘集中收集,提高工作环境的洁净度,更加环保;机壳内部底端安装有电加热箱,机壳侧壁插接有温度传感器,及时知晓并调节机壳内部的温度,有利于提高产品的质量。
需要说明的是,本实用新型为一种环保高效喷塑流水线,包括机壳1、工作台101、电加热箱2、温度传感器201、喷料嘴3、料箱4、警示线401、吸粉泵5、吸尘嘴6、吸尘管7、吸尘箱8、控制面板9、引风机10、集尘布袋11,部件均为通用标准件或本领域技术人员知晓的部件,其结构和原理都为本技术人员均可通过技术手册得知或通过常规实验方法获知。
显然,本领域的技术人员可以对本实用新型实施例进行各种改动和变型而不脱离本实用新型实施例的精神和范围。这样,倘若本实用新型实施例的这些修改和变型属于本实用新型权利要求及其等同技术的范围之内,则本实用新型也意图包含这些改动和变型在内。
技术特征:
1.一种环保高效喷塑流水线,包括机壳、工作台和喷料嘴,所述工作台安装在机壳内部底端,所述喷料嘴位于机壳内部顶端,其特征在于,所述喷料嘴导通连接在料箱底端,所述料箱表面喷涂有警示线,所述料箱靠近顶端一侧通过导管与吸粉泵导通连接,所述机壳内部顶端对称安装有吸尘嘴,所述机壳外部安装有吸尘箱,所述吸尘箱内部安装有引风机,所述引风机的排气端插接在集尘布袋内部,所述机壳内部底端安装有电加热箱,所述机壳侧壁插接有温度传感器。
2.根据权利要求1所述的一种环保高效喷塑流水线,其特征在于,所述料箱贯穿机壳上表面,所述料箱的警示线位于机壳外部。
3.根据权利要求1所述的一种环保高效喷塑流水线,其特征在于,所述吸尘嘴位于喷料嘴两侧,且吸尘嘴通过吸尘管与引风机的吸气端导通连接。
4.根据权利要求1所述的一种环保高效喷塑流水线,其特征在于,所述机壳表面安装有控制面板,所述控制面板的控制端分别与吸粉泵、引风机、电加热箱和温度传感器的执行端电性连接。
5.根据权利要求1所述的一种环保高效喷塑流水线,其特征在于,所述吸尘箱位于机壳一侧。
技术总结
本实用新型公开了一种环保高效喷塑流水线,属于物体表面处理技术领域,包括机壳、工作台和喷料嘴,所述工作台安装在机壳内部底端,所述喷料嘴位于机壳内部顶端,所述喷料嘴导通连接在料箱底端,所述料箱表面喷涂有警示线,所述料箱靠近顶端一侧通过导管与吸粉泵导通连接,所述机壳内部顶端对称安装有吸尘嘴,所述机壳外部安装有吸尘箱,所述吸尘箱内部安装有引风机。本实用新型对机壳内部的粉尘集中收集,提高工作环境的洁净度;通过料箱表面的警示线观测料箱的物料残留量,技术人员通过吸粉泵及时添加,确保物料源源不断,提高生产效率;在机壳侧壁插接有温度传感器,及时知晓并调节机壳内部的温度,有利于提高产品的质量。
浙公网安备33038102332487号